30 Beechcroft Rd, Newton MA  02458-2404 exterior

30 Beechcroft Rd Newton, MA 02458 / 2404

Residence for Single Family

(UPDATED: 08/11/2025)
  • 4 Beds
  • 3 Baths
  • 5.986 square feet
Property Report

Information about property on 30 Beechcroft Rd, Newton MA, 02458-2404. Find out owner contacts, building history, price, neighborhood at Homemetry Address Directory.

Property Details

This property with 5,290 square feet of effective area on near a third of acre was built in the twenties.

Facts

  • Built in 1924
  • Property use Single Family
  • Lot size 14,769 sqft
  • Effective area 5,290 sqft
  • Gross building area 5,986 sqft
  • Building type Residential
  • Rooms 10
  • Bedrooms 4
  • Bathrooms 3
  • Stories 2
  • Exterior condition Average
  • Trim None
  • Foundation type Concrete
  • Roof material Slate
  • Fuel type Gas
  • Air conditioning Central
  • Frontage 120 feet
  • Finished attic area 588 sqft
  • Basement area 1,392 sqft
  • Deck area 198 sqft
  • Detached garage area 462 sqft
  • Heating & Cooling
  • Heat type Hot Wtr Radiat
  • Exterior Home Features
  • Exterior walls Brick Veneer
  • Roof type Gable
Advertisement
Continue Reading Below

Features

  • Kitchen quality: Good
  • Bath quality: Above Average

Householders and Tenants for 30 Beechcroft Rd, Newton MA

Possible Businesses

Organization Phone Number Additional Info
ACCESS 21, INCORPORATED
Type of Business:
Nonprofit Corporation
Inactive:
20120618
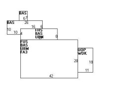
30 Beechcroft Rd, Newton MA  02458-2404 plot plan 30 Beechcroft Rd, Newton MA  02458-2404 floor plan 30 Beechcroft Rd, Newton MA  02458-2404 aerial view

Cost estimate history

YearAssessment
2016 $1,353,200
2015 $1,264,700
2014 $1,206,900
2013 $1,206,900
2012 $1,206,900
2011 $1,207,800
2010 $1,232,400
2009 $1,257,600
2008 $1,257,600
2007 $1,309,300
2006$1,226,000
2005$1,167,600
2004$1,065,200
2003$951,100
2002$951,100
2001$823,200
2000$712,400
1999$648,200
1998$584,600
1997$573,100
1996$545,800
1995$492,600
1994$447,800
1993$447,800
1992$454,500
Advertisement
Continue Reading Below

Where is 30 Beechcroft Rd, Newton MA located on map?

Properties Nearby

Street Address
11 Beechcroft Rd, Newton, MA 02458-2403
Single Family
  • 5 beds
  • 4.5 baths
  • 5,908 sqft
  • Built in 1880
12 Beechcroft Rd, Newton, MA 02458-2404
Single Family
  • 7 beds
  • 5.5 baths
  • 10,679 sqft
  • Built in 1900
20 Beechcroft Rd, Newton, MA 02458-2404
Single Family
  • 6 beds
  • 3.5 baths
  • 5,883 sqft
  • Built in 1906
25 Beechcroft Rd, Newton, MA 02458-2403
Single Family
  • 4 beds
  • 3 baths
  • 5,183 sqft
  • Built in 1970
33 Beechcroft Rd, Newton, MA 02458-2403
Single Family
  • 7 beds
  • 5.5 baths
  • 5,037 sqft
  • Built in 1900
 

FAQ about the house at 30 Beechcroft Rd, Newton, MA

Advertisement

NOTICE: You may not use Homemetry or the information it provides to make decisions about employment, credit, housing or any other purpose that would require Fair Credit Reporting Act (FCRA) compliance. Homemetry is not a Consumer Reporting Agency (CRA) as defined by the FCRA and does not provide consumer reports.